Автор:Pедактор сайта Время публикации: 2026-04-23 Происхождение:Работает
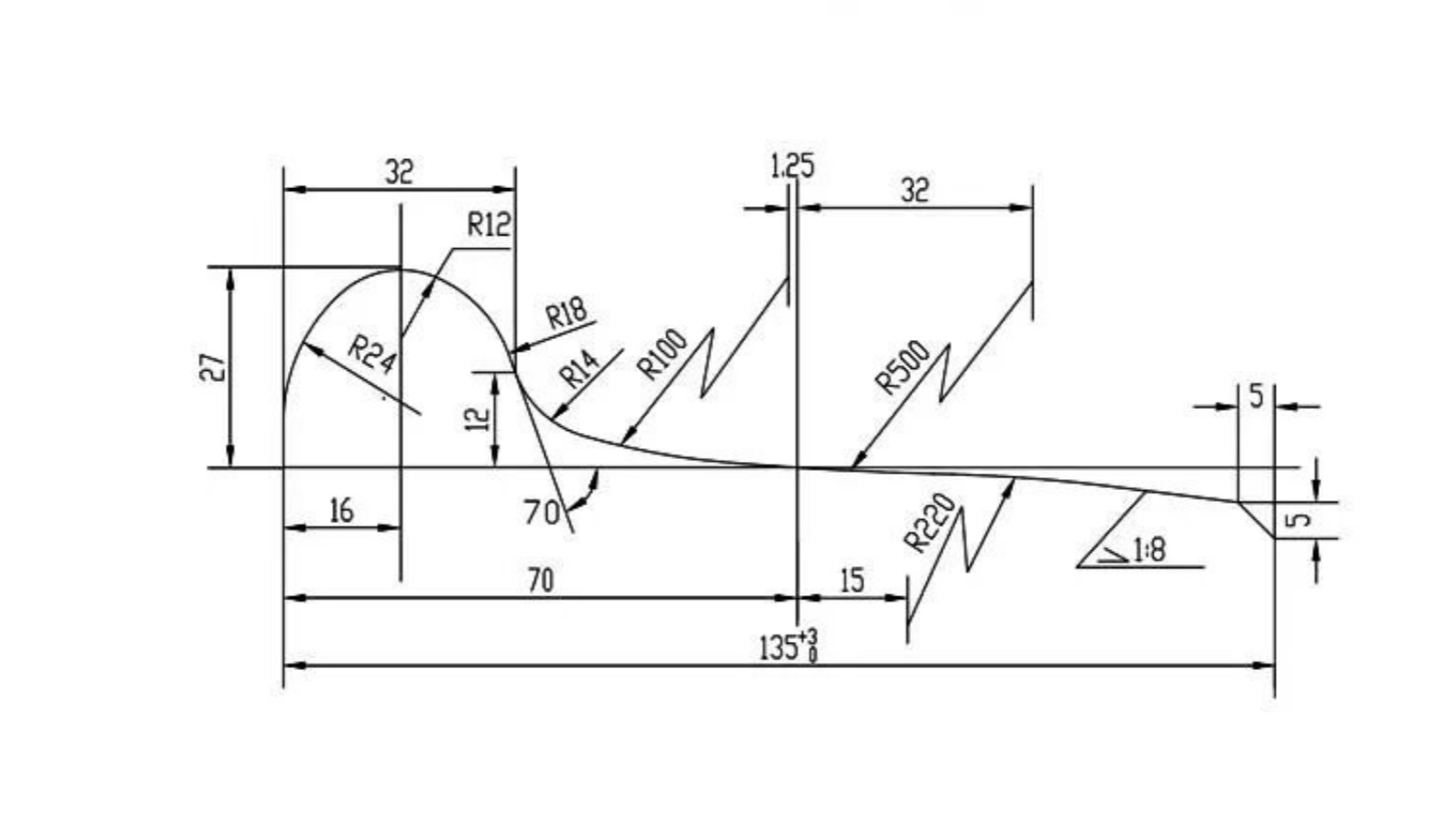
Конструкция гребня и профиля протектора железнодорожного колеса играет решающую роль в обеспечении безопасной и эффективной эксплуатации поезда. Хорошо подобранная геометрия контакта колеса с рельсом не только снижает износ и напряжение, но также улучшает общую стабильность движения и эффективность прохождения поворотов.
При проектировании профиля протектора колеса важно обеспечить его соответствие форме головки рельса. Идеальный интерфейс колеса с рельсом может эффективно снизить контактное напряжение и минимизировать износ, что напрямую способствует:
· Улучшение производительности при прохождении поворотов
· Снижение частоты и стоимости технического обслуживания
· Увеличение критической скорости для устойчивости поезда
Кроме того, новый профиль протектора должен точно соответствовать изношенному профилю в реальных условиях эксплуатации. Это помогает уменьшить объем съема металла при перепрофилировании, тем самым продлевая срок службы колес и снижая затраты на техническое обслуживание.

Фланец является ключевым элементом безопасности, предотвращающим сход с рельсов. Его высоту и геометрию необходимо тщательно контролировать:
· Высота полки: обычно колеблется от 26 мм до 30 мм.
· Слишком низкая: увеличивает риск схода с рельсов.
· Слишком высокая: может вызвать столкновение с компонентами рельса, такими как болты накладок или заплечики, особенно при значительном износе протектора.
Для безопасного проезда через стрелочные переводы колеса меньшего диаметра обычно требуют большей высоты гребня.
Угол фланца также имеет решающее значение. Наружная поверхность фланца должна сохранять соответствующий угол с горизонтальной плоскостью:
· Слишком маленький угол: повышенный риск подъема колеса (сход с рельсов на низких скоростях).
· Слишком большой угол: увеличивает съем при механической обработке во время перепрофилирования и может вызвать контакт между верхом фланца и рельсом в условиях угла атаки.

Профиль протектора в первую очередь определяется условиями пути и рабочей скоростью поезда, а не конструкцией колеса. Когда нет существенных изменений в инфраструктуре пути или рабочей скорости, профиль протектора обычно остается неизменным, даже если конструкция колеса изменяется.
В большинстве случаев применяются стандартизированные профили протектора для обеспечения совместимости и надежности железнодорожных систем.
Конструкция гребня железнодорожных колес и профиля протектора является жизненно важным аспектом безопасности и производительности поезда. Оптимизируя взаимодействие колеса с рельсом, контролируя размеры фланцев и приводя дизайн протектора в соответствие с реальными условиями эксплуатации, операторы железных дорог могут значительно повысить эффективность работы, снизить износ и повысить общую безопасность.